
About the Hybrone Smart 4 Socket & 4 Port USB Group Outlet
HY-PW2052-PU

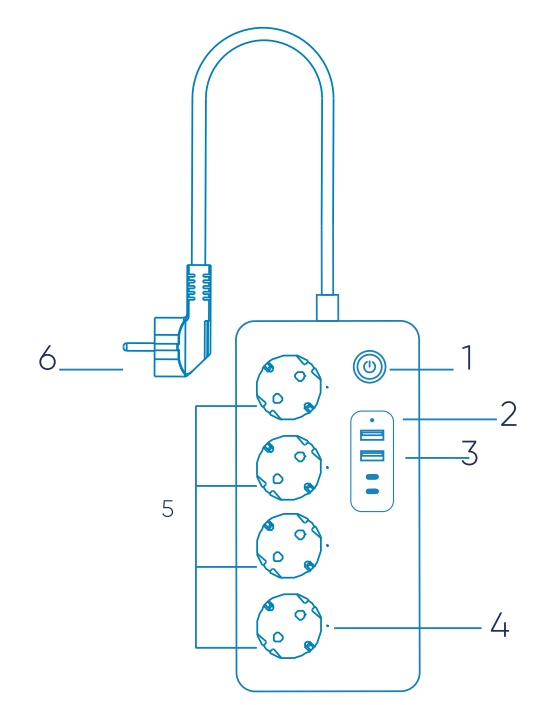
Device Description
1. Power Button
2. USB Type A
3. USB Type C
4. LED Indicators
5. Sockets (4 Pieces)
6. Plug

Technical Specs
Operating Voltage | 100 - 240V AC / 50-60 Hz |
Device Name | Hybrone Smart 4 Socket & 4 Port USB Group Outlet |
Max. Power Output | 16A / 3000W |
Connection | Wi-Fi 2.4 GHz IEEE802.11b/g/n, Bluetooth |
Material | Fireproof ABS Plastic |
Operating Temperature | 0°C ~ 40°C |
Dimensions | 198x99x43mm |
USB Type - A | 2 x 5V - 2A |
USB Type - C | 2 x 5V - 2A |
Cable Length | 150cm |
Was this article helpful?
That’s Great!
Thank you for your feedback
Sorry! We couldn't be helpful
Thank you for your feedback
Feedback sent
We appreciate your effort and will try to fix the article